噴霧干燥機是什么?
噴霧干燥機是在噴霧干燥室內,采用霧化器將原料液分散成極細霧滴后,與干燥介質(熱風)接觸干燥而取得固體產品的過程。原料液能夠是溶液、懸浮液或乳濁液、也能夠是熔融液或膏糊液。依據干燥產品的請求,能夠制成粉狀、顆粒狀、空心球或團粒狀。所用的干燥介質大多數是熱空氣。關于在空氣中容易發作熄滅或爆炸的有機溶劑,應采用惰性氣體(例如氮氣、過熱蒸汽)或煙道氣等作為干燥介質。

噴霧干燥機主體設備圖
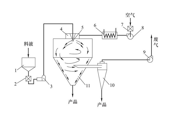
噴霧干燥機的工藝流程有很多種,噴霧干燥機安裝所處置的料液固然差異很大,所得的產品外形也不盡相同,但其工藝流程卻根本相同。典型的噴霧干燥安裝工藝流程原料液由料液貯罐、經料液過濾器、再由送料泵保送到噴霧干燥器頂部的霧化器,霧化為霧滴;干燥過程所需的新穎空氣由鼓風機,經空氣過濾器、空氣加熱器,加熱到所請求的溫度后,再經熱風散布器均布后進入噴霧干燥器,的頂部;經霧化器霧化的霧滴和來自熱風散布器的熱風在噴霧干燥室內互相接觸、混合,停止傳熱與傳質,即停止干燥;干燥的產品一局部由噴霧干燥器的底部經卸料器排出,另一局部與廢氣一同進入旋風別離器被別離下來;廢氣經引風機排空。
噴霧干燥機設計
依據GMP規范,鞏固耐用,高純度設計; 各種醫藥級飾面; 衛生型港口是規范配置; 溶劑和水性飼料可采用隔爆設計; 運用惰性工藝氣體或空氣作為干燥介質; 加上過濾器; 十分合適為商業消費樹立過程數據; 易于拆卸清潔和快速產品切換。

噴霧干燥機設計圖
1—料液貯罐;2—料液過濾器;3—送料泵;4—熱風分布器;5—霧化器;6—空氣加熱器;7—空氣過濾器;8—鼓風機;9—引風機;10—旋風分離器;11—噴霧干燥器